
電動截止閥
閥門首頁 > 產品展示 > 截止閥 > 電動截止閥 > 





| 設計與制造 | GB/T12235 | |
| 連接端尺寸 | 結構長度 | GB/T12221 |
| 法蘭尺寸 | JB/T79 | |
| 檢驗與試驗 | JB/T9092 | |
| 材 料 | 碳鋼 | GB/T12229 |
| 不銹鋼 | GB/T12230 | |
| 合金鋼 | Q/ZB66 | |
| 標 志 | GB/T12220 | |
| 供 貨 | JB/T7928 | |
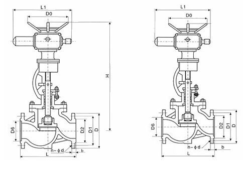
| 4.0MPa | DN | L | D | D1 | D2 | D6 | b | n-Φd | 電裝型號 | L1 | H | D0 |
|
凹凸法蘭 MFM J941H J941Y J941W 40 40P 40R 40I |
50 | 230 | 160 | 125 | 100 | 88 | 20 | 4-Φ18 | ZDW10 | 590 | 645 | 365 |
| 65 | 290 | 180 | 145 | 120 | 110 | 22 | 8-Φ18 | ZDW10 | 590 | 690 | 365 | |
| 80 | 310 | 195 | 160 | 135 | 121 | 22 | 8-Φ18 | ZDW20 | 590 | 715 | 365 | |
| 100 | 350 | 230 | 190 | 160 | 150 | 24 | 8-Φ23 | ZDW30 | 590 | 770 | 365 | |
| 125 | 400 | 270 | 220 | 188 | 176 | 28 | 8-Φ25 | ZDW45 | 810 | 782 | 470 | |
| 150 | 480 | 300 | 250 | 218 | 204 | 30 | 8-Φ25 | ZDW60 | 810 | 875 | 470 | |
| 200 | 600 | 375 | 320 | 282 | 260 | 38 | 12-Φ30 | ZDW90 | 830 | 1160 | 550 | |
| 6.4MPa | 50 | 300 | 175 | 135 | 105 | 88 | 26 | 4-23Φ | ZDW10 | 590 | 710 | 365 |
|
凹凸法蘭 MFM J941H J941Y J941W 64 64P 64R 64I |
65 | 340 | 200 | 160 | 130 | 110 | 28 | 8-Φ23 | ZDW20 | 590 | 750 | 365 |
| 80 | 380 | 210 | 170 | 140 | 121 | 30 | 8-Φ23 | ZDW30 | 590 | 785 | 365 | |
| 100 | 430 | 250 | 200 | 168 | 150 | 32 | 8-Φ25 | ZDW45 | 810 | 837 | 470 | |
| 125 | 500 | 295 | 240 | 202 | 176 | 36 | 8-Φ30 | ZDW60 | 810 | 1031 | 470 | |
| 150 | 550 | 340 | 280 | 240 | 204 | 38 | 8-Φ34 | ZDW90 | 830 | 1066 | 550 | |
| 200 | 650 | 405 | 345 | 300 | 260 | 44 | 12-Φ34 | ZDW120 | 830 | 1213 | 550 |

上一篇:截止閥電動執行器 / 下一篇:j941h-16c電動截止閥